樱花设计素材 - 一文了解汽车底盘基础知识解析
2024-08-23 15:08:48汽车的心脏——发动机,作为动力的源泉,其使命在于燃烧燃料 9.1樱花ppt网站,释放出推动车辆前行的能量,而底盘,则是这一力量的执行者,它不仅接收发动机的强大动力,还巧妙地让汽车根据驾驶者的意愿,在道路上灵活穿梭,环保橡胶密封圈。
底盘的复杂精妙 樱花ppt模板,在于它由四大核心系统紧密协作构成:传动系统,行驶系统,转向系统与制动系统,每一部分都承担着不可或缺的角色,密封橡胶硅胶材料是什么。
传动系统:动力的桥梁

▲机械式传动系统的组成及布置形式
传动系统,如同精密的齿轮组合,负责将发动机的动力高效传递到车轮上,它包括离合器,变速器,传动轴 9.1版本ppt,主减速器,差速器及半轴等关键部件,连接器硅橡胶零配件定制厂家。
这些部件各司其职,共同实现了汽车的减速增矩,变速,倒车及动力中断等功能,更让车轮拥有了适应不同路况的差速能力 樱花模板下载,汽车橡胶硅胶配件名称图解。
传动系统根据不同的结构和动力传递方式,可细分为机械式,液力式,电力式等多种类型,而前置后驱,前置前驱 ppt资源网站,后置后驱等不同的布置方案,则满足了不同车型和用途的需求,橡胶密封圈生产厂家。

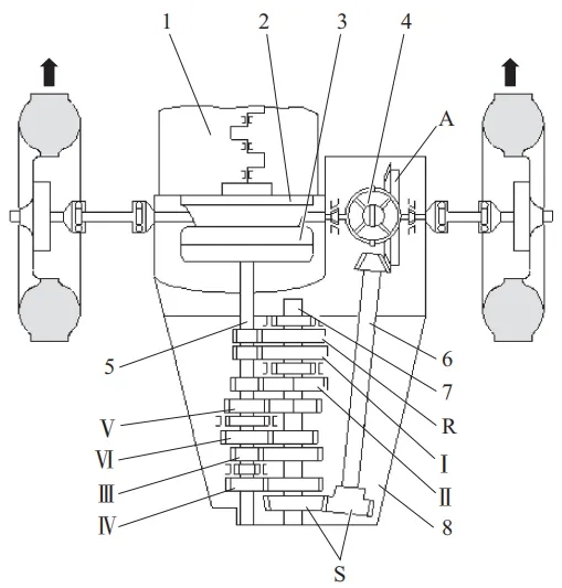
▲发动机前置轮驱动机械式传动系统布置
1—发动机. 2—从动盘 9.1樱花ppt网站. 3—离合器模块. 4—差速器. 5—驱动轴(主轴). 6—带边轴的主动齿轮. 7—从动轴. 8—手动变速器. Ⅰ—第1挡. Ⅱ—第2挡. Ⅲ—第3挡. Ⅳ—第4挡. Ⅴ—第5挡. Ⅵ—第6挡. R—倒车挡. A—主减速器. S—中间传动的圆柱齿轮.

▲液力机械式传动系统

▲静液式传动系统

▲电力式传动系统

▲前置后驱动(FR):发动机前置后轮驱动方案,主要用于货车 樱花ppt模板,部分客车和部分高级轿车。

▲前置前驱动(FF):主要用于轿车和微型 9.1版本ppt,轻型客车等。

▲后置后驱动(RR):特点是发动机布置在后轴之后,用后轮驱动 樱花模板下载,主要用于大中型客车和少数跑车。

▲中置后驱动(MR):特点是发动机布置在前后轴之间,用后轮驱动,主要用于跑车和少数大,中型客车 ppt资源网站。

▲全轮驱动(AWD):特点是传动系统增加了分动器,动力可以同时传给前后轮;主要用于越野车及重型货车。广东新能源产业橡胶硅胶配件定制生产厂家
行驶系统:稳健的支撑
行驶系统,是汽车的骨架与纽带,它由车架、车桥、车轮和悬架等构成。这一系统不仅支撑着汽车的全部重量,还通过车轮与路面的紧密接触,确保了车辆能够平稳行驶。密封圈橡胶硅胶材料密度

▲行驶系统的组成与受力
行驶系统巧妙地缓冲了路面的冲击与振动,提升了乘坐的舒适度,同时与转向系统协同工作,确保了汽车行驶方向的精确控制。油封橡胶密封垫圈
转向系统:方向的指引
转向系统,是驾驶者与汽车之间的默契桥梁。它由转向操纵机构、转向器和转向传动机构三部分组成,部分车型还配备了转向助力装置,让驾驶变得更加轻松。汽车连接器硅橡胶密封接插件

▲机械式转向系统

▲动力转向系统
转向系统的主要任务,就是根据驾驶者的意图,引导汽车沿着既定的方向行驶,并在遇到侧向干扰时,及时恢复汽车的稳定行驶状态。连接器密封圈图片
制动系统:安全的守护者
制动系统,是汽车安全的最后一道防线。它由前轮制动器、后轮制动器以及控制装置、传动装置和供能装置等组成,分为行车制动和驻车制动两大类。

▲汽车制动系统简单的工作原理
无论是让行驶中的汽车减速停车,还是确保车辆驻留原地不动,制动系统都发挥着至关重要的作用。通过人力、发动机动力或两者结合的方式,制动系统实现了对汽车速度的有效控制,保障了行车安全。新能源电池橡胶密封图片价格
特别声明:内容来源 汽车电子学堂 仅供参考,以传递更多信息而不是盈利。版权属于原作者。如有侵权,请联系删除。









